LPCMP external SAMPLE input

取消
显示结果 
显示  仅  | 搜索替代 
您的意思是: 
已解决

LPCMP external SAMPLE input

跳至解决方案
1,051 次查看
Jack_Hsu
Contributor I

Hi,

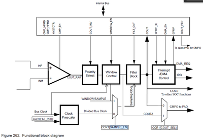
When I set CCR1[SAMPLE_EN] to be 1, which clock source would be used?
Is the external signal source an actual pin input or is it set somewhere else?”

S32K3X4EVB-T172 , #LPCMP, #RTD

Jack_Hsu_0-1727340085947.png

Jack_Hsu_1-1727340681853.png

 

0 项奖励
回复
1 解答
1,023 次查看
VaneB
NXP TechSupport
NXP TechSupport

Hi @Jack_Hsu 

When CCR1[SAMPLE_EN]=1, the WINDOW/SAMPLE signal acts as the Sampling Clock of the Filter Block. The external SAMPLE input signal is an output pulse generated via TRGMUX. See the LPCMP_Sample/Window input in the TRGMUX connectivity file attached to the S32K3xx Reference Manual, Rev. 8. 

 

BR, VaneB

在原帖中查看解决方案

0 项奖励
回复
1 回复
1,024 次查看
VaneB
NXP TechSupport
NXP TechSupport

Hi @Jack_Hsu 

When CCR1[SAMPLE_EN]=1, the WINDOW/SAMPLE signal acts as the Sampling Clock of the Filter Block. The external SAMPLE input signal is an output pulse generated via TRGMUX. See the LPCMP_Sample/Window input in the TRGMUX connectivity file attached to the S32K3xx Reference Manual, Rev. 8. 

 

BR, VaneB

0 项奖励
回复
%3CLINGO-SUB%20id%3D%22lingo-sub-1962539%22%20slang%3D%22en-US%22%20mode%3D%22CREATE%22%3ELPCMP%20%E5%A4%96%E9%83%A8%20SAMPLE%20%E8%BE%93%E5%85%A5%3C%2FLINGO-SUB%3E%3CLINGO-BODY%20id%3D%22lingo-body-1962539%22%20slang%3D%22en-US%22%20mode%3D%22CREATE%22%3E%3CP%3EHi%2C%3C%2FP%3E%3CP%3E%E5%BD%93%E6%88%91%E5%B0%86%20CCR1%5BSAMPLE_EN%5D%20%E8%AE%BE%E7%BD%AE%E4%B8%BA%201%20%E6%97%B6%EF%BC%8C%E5%B0%86%E4%BD%BF%E7%94%A8%E5%93%AA%E4%B8%AA%E6%97%B6%E9%92%9F%E6%BA%90%EF%BC%9F%3CBR%20%2F%3E%3CSPAN%3E%E5%A4%96%E9%83%A8%E4%BF%A1%E5%8F%B7%E6%BA%90%E6%98%AF%E5%AE%9E%E9%99%85%E7%9A%84%E5%BC%95%E8%84%9A%E8%BE%93%E5%85%A5%E8%BF%98%E6%98%AF%E8%AE%BE%E7%BD%AE%E5%9C%A8%E5%85%B6%E4%BB%96%E5%9C%B0%E6%96%B9%EF%BC%9F%E2%80%9D%3C%2FSPAN%3E%3C%2FP%3E%3CP%3E%3CSPAN%3E%3CA%20href%3D%22https%3A%2F%2Fcommunity.nxp.com%2Ft5%2Fc-pwmxy87654%2FS32K3X4EVB-T172%2Fpd-p%2FS32K3X4EVB-T172%22%20class%3D%22lia-product-mention%22%20data-product%3D%223489-1%22%20target%3D%22_blank%22%3ES32K3X4EVB-T172%3C%2FA%3E%20%E3%80%81%23LPCMP%E3%80%81%23RTD%3C%2FSPAN%3E%3C%2FP%3E%3CP%3E%3CSPAN%20class%3D%22lia-inline-image-display-wrapper%20lia-image-align-inline%22%20image-alt%3D%22Jack_Hsu_0-1727340085947.png%22%20style%3D%22width%3A%20400px%3B%22%3E%3Cspan%20class%3D%22lia-inline-image-display-wrapper%22%20image-alt%3D%22Jack_Hsu_0-1727340085947.png%22%20style%3D%22width%3A%20400px%3B%22%3E%3Cimg%20src%3D%22https%3A%2F%2Fcommunity.nxp.com%2Ft5%2Fimage%2Fserverpage%2Fimage-id%2F301423i139F5E8308C1ADFD%2Fimage-size%2Fmedium%3Fv%3Dv2%26amp%3Bpx%3D400%22%20role%3D%22button%22%20title%3D%22Jack_Hsu_0-1727340085947.png%22%20alt%3D%22Jack_Hsu_0-1727340085947.png%22%20%2F%3E%3C%2Fspan%3E%3C%2FSPAN%3E%3C%2FP%3E%3CP%3E%3CSPAN%20class%3D%22lia-inline-image-display-wrapper%20lia-image-align-inline%22%20image-alt%3D%22Jack_Hsu_1-1727340681853.png%22%20style%3D%22width%3A%20400px%3B%22%3E%3Cspan%20class%3D%22lia-inline-image-display-wrapper%22%20image-alt%3D%22Jack_Hsu_1-1727340681853.png%22%20style%3D%22width%3A%20400px%3B%22%3E%3Cimg%20src%3D%22https%3A%2F%2Fcommunity.nxp.com%2Ft5%2Fimage%2Fserverpage%2Fimage-id%2F301426iA6E33B59283FD693%2Fimage-size%2Fmedium%3Fv%3Dv2%26amp%3Bpx%3D400%22%20role%3D%22button%22%20title%3D%22Jack_Hsu_1-1727340681853.png%22%20alt%3D%22Jack_Hsu_1-1727340681853.png%22%20%2F%3E%3C%2Fspan%3E%3C%2FSPAN%3E%3C%2FP%3E%3CBR%20%2F%3E%3C%2FLINGO-BODY%3E%3CLINGO-SUB%20id%3D%22lingo-sub-1963726%22%20slang%3D%22en-US%22%20mode%3D%22CREATE%22%3E%E5%9B%9E%E5%A4%8D%EF%BC%9ALPCMP%20%E5%A4%96%E9%83%A8%20SAMPLE%20%E8%BE%93%E5%85%A5%3C%2FLINGO-SUB%3E%3CLINGO-BODY%20id%3D%22lingo-body-1963726%22%20slang%3D%22en-US%22%20mode%3D%22CREATE%22%3E%3CP%3EHi%26nbsp%3B%3CA%20href%3D%22https%3A%2F%2Fcommunity.nxp.com%2Ft5%2Fuser%2Fviewprofilepage%2Fuser-id%2F239294%22%20target%3D%22_blank%22%3E%40Jack_Hsu%3C%2FA%3E%26nbsp%3B%3C%2FP%3E%0A%3CP%3E%E5%BD%93%20CCR1%5BSAMPLE_EN%5D%3D1%20%E6%97%B6%EF%BC%8CWINDOW%2FSAMPLE%20%E4%BF%A1%E5%8F%B7%E5%85%85%E5%BD%93%E6%BB%A4%E6%B3%A2%E5%99%A8%E5%9D%97%E7%9A%84%E9%87%87%E6%A0%B7%E6%97%B6%E9%92%9F%E3%80%82%E5%A4%96%E9%83%A8SAMPLE%E8%BE%93%E5%85%A5%E4%BF%A1%E5%8F%B7%E6%98%AF%E9%80%9A%E8%BF%87TRGMUX%E4%BA%A7%E7%94%9F%E7%9A%84%E8%BE%93%E5%87%BA%E8%84%89%E5%86%B2%E3%80%82%E8%AF%B7%E5%8F%82%E9%98%85%20S32K3xx%20%E5%8F%82%E8%80%83%E6%89%8B%E5%86%8C%E7%AC%AC%208%20%E7%89%88%E9%99%84%E5%B8%A6%E7%9A%84%20TRGMUX%20%E8%BF%9E%E6%8E%A5%E6%96%87%E4%BB%B6%E4%B8%AD%E7%9A%84%20LPCMP_Sample%2FWindow%20%E8%BE%93%E5%85%A5%E3%80%82%3C%2FP%3E%0A%3CBR%20%2F%3E%0A%3CP%3EBR%2C%20VaneB%3C%2FP%3E%3C%2FLINGO-BODY%3E