Hello kashifsagheer,
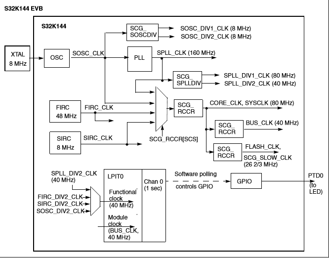
To enable/disable the clocks there's a little checkbox in the Clock Sources table:

In the Interface Clocks table you can select the clock source if you click in the SCS_CLK option:

If you change the SCS_CLK the BUS_CLK will have the same clock source.
Also in the Clock configuration table, if you click in the tab, more configuration options will be displayed:

Let me know if this helps you.
Best Regards,
Alexis Andalon