Example MPC5748G SMPU initialization + Process ID test

キャンセル
次の結果を表示 
表示  限定  | 次の代わりに検索 
もしかして: 

Example MPC5748G SMPU initialization + Process ID test

2,046件の閲覧回数
cholland
Contributor V

I have a few questions in regards to the MPC5748G SMPU. Example MPC5748G SMPU initialization + Process ID test 

1. Where is the referenced instruction __MSTPR exist?

I noticed an include file I am not familiar with #include <ppc_ghs.h>

2. In the example, is there a specific reason for switching to SMPU_1? Couldn't SMPU_0.RGD[6]  be used instead?

// Peripheral Address Space (256MB)
SMPU_0.RGD[5].WORD0.R = 0xf0000000; // start address
SMPU_0.RGD[5].WORD1.R = 0xffffffff; // end address
SMPU_0.RGD[5].WORD2.FMT0.R = 0xffc0fc00; // rw set for masters: M0, M1, M2, M3, M4, M8, M9, M10
SMPU_0.RGD[5].WORD3.B.CI = 1; // set cache inhibit
SMPU_0.RGD[5].WORD5.B.VLD = 1; // enable descriptor[7]

// SRAM used by all cores (768kB)
SMPU_1.RGD[0].WORD0.R = 0x40000000; // start address
SMPU_1.RGD[0].WORD1.R = 0x400bffff; // end address
SMPU_1.RGD[0].WORD2.FMT0.R = 0xc3ffff00; // rw set for masters: M0, M3, M4, M5, M6, M7, M8, M9, M10, M11, M12, M13
SMPU_1.RGD[0].WORD5.B.VLD = 1; // enable descriptor[0]

3. In the example, There seems to be several regions being given access, but are they not given all access rights by default? Why then would code enable it again?

// Enable all access rights for all masters regardless of PID
SMPU_1.RGD[0].WORD0.R = 0x40000000; // start address
SMPU_1.RGD[0].WORD1.R = 0x400befff; // end address
SMPU_1.RGD[0].WORD2.FMT0.R = 0xc3ffff00; // rw set for masters: M0, M3, M4, M5, M6, M7, M8, M9, M10, M11, M12, M13
SMPU_1.RGD[0].WORD5.B.VLD = 1; // enable descriptor[0]

Thank you,

タグ(3)
1 返信

1,840件の閲覧回数
lukaszadrapa
NXP TechSupport
NXP TechSupport

Hi,

1. From GHS documentation:

pastedImage_1.png

pastedImage_2.png

If you don't like this style, you can write own functions.

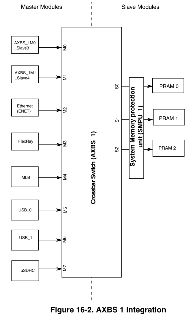
2. SMPU_0 can't cover RAM. RAM can be covered only by SMPU_1. There are two crossbars, so there are also two SMPU modules. From reference manual:

pastedImage_3.png

pastedImage_4.png

pastedImage_5.png

3. Try to read the comments and initialization code again. Function SMPU_cfg performs general settings which can be used as a starting point for all users. Then there's a test case when descriptors are modified to show access violation. It could be initialized in one step, of course, but I wanted to provide also basic initialization which can be simply reused.

Regards,

Lukas