Hi Federico Guerra ,
Thank you for your interest in NXP Semiconductor products and
for the opportunity to serve you.
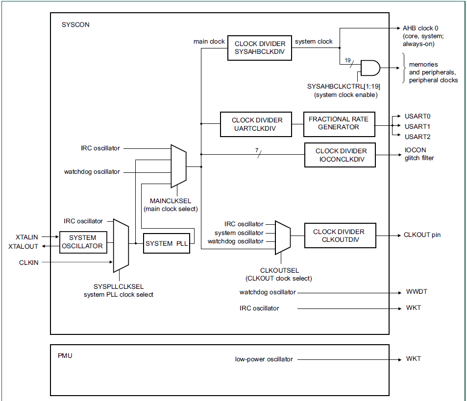
Before answer your question, I'd like to know the what the clock you want to reconfigure and you can point out it in the following figure.

Fig 1
Have a great day,
TIC
-----------------------------------------------------------------------------------------------------------------------
Note: If this post answers your question, please click the Correct Answer button. Thank you!
-----------------------------------------------------------------------------------------------------------------------