LP550x maimum external input impedance

cancel
Showing results for 
Show  only  | Search instead for 
Did you mean: 

LP550x maimum external input impedance

2,277 Views
YounesBMA
Contributor I

Hi 

 

I can't find the ADC maximum external input impedance of LPC5502 in datasheet  .

 

Best regards 

Labels (1)
0 Kudos
Reply
3 Replies

2,222 Views
PabloAvalos
NXP TechSupport
NXP TechSupport

Hi @YounesBMA 

 

Hoping you are excellent.

 

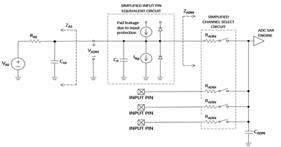
After checking internally, the datasheet's input resistance value means RADIN as it is shown on the next diagram:

 

PabloAvalos_2-1638317250273.png

 

So, the maximum external ADC input impedance calculation can be obtained with the formula below:

PabloAvalos_3-1638317260293.png

 

In case that you do not want to calculate it by yourself, use attached excel table that can be helpful to speed the calculate up.

 

Please let me know if you have more questions.

 

Best Regards.

Pablo Avalos.

0 Kudos
Reply

2,256 Views
ianbenton
Senior Contributor I

I found the datasheet spec of "2k input impedance" confusing, assuming it meant a 2k resistance to ground, but it actually means that there is 2k in series with the S&H capacitor.

The time constant of (2k+your_source_impedance) * 5pF input capacitance should be compared with the sample period (1/sample_rate)

three time constants = sample period will give you 5% accuracy

five time constants = 1% accuracy

11 time constants for full 16 bit accuracy

0 Kudos
Reply

2,260 Views
frank_m
Senior Contributor III

I don't know any datasheet that specifies such a value. Only an internal impedance is specified.

It is your task to make sure the driving input can charge/discharge the S&H capacitor over the external and internal impedance during the selected sample time.

A basic calculation as first-order RC element is usually sufficient.