What happens if I power off the clock?

cancel
Showing results for 
Show  only  | Search instead for 
Did you mean: 

What happens if I power off the clock?

1,422 Views
federicoguerra
Contributor I

I'm currently learning about the clock of the LPC824 board, and I wanted to change the clock source from IRC to SysOsc. My question is: what happens if while changing the clock configuration something goes wrong? Is it possible to shut down all the clocks and still be able to reflash the MCU?

Labels (1)
0 Kudos
Reply
4 Replies

1,231 Views
ianbenton
Senior Contributor I

If you do something daft like changing the clock from one that is running to one that isn't then it all stops, and you have to use the "ISP RESET" procedure to get it all started again. (That is pulse the RESET pin low, whilst the ISP RESET pin is being held low). I know - I've done it.

It always starts up in the IRC mode. To change to the crystal, make sure you enable it in PDRUNCFG and give it 1ms to get started before you change to it. After that you can power down the IRC.

Similarly, if you change to the PLL, make sure that the PLL has locked before you change clocks.

1,231 Views
jeremyzhou
NXP Employee
NXP Employee

Hi  Federico Guerra ,

Thank you for your interest in NXP Semiconductor products and 
for the opportunity to serve you.

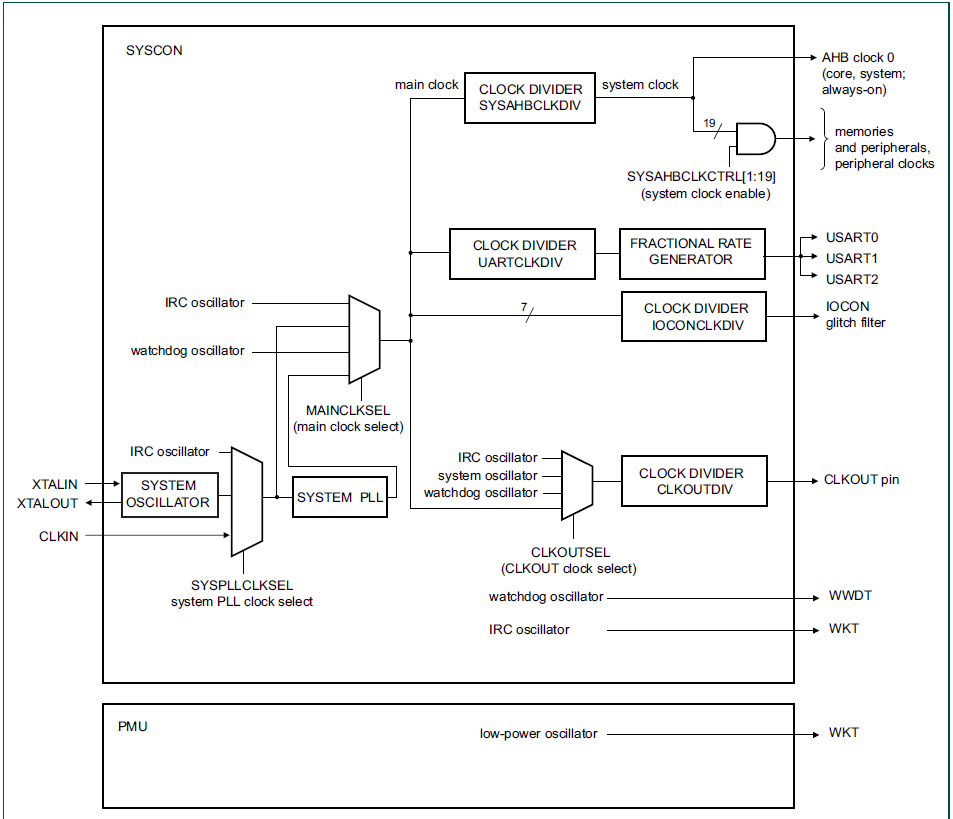
Before answer your question, I'd like to know the what the clock you want to reconfigure and you can point out it in the following figure.

pastedImage_1.png

                                                                      Fig 1

Have a great day,
TIC
 
-----------------------------------------------------------------------------------------------------------------------
Note: If this post answers your question, please click the Correct Answer button. Thank you!
-----------------------------------------------------------------------------------------------------------------------

 

0 Kudos
Reply

1,231 Views
federicoguerra
Contributor I

I wanted to change MAINCLKSEL from pllout to IRC, and in the future to change pllin from IRC to SysOsc.

At this point I managed to change MAINCLK succesfully.

I was afraid of messing up some registers and ending with a bricked board.

0 Kudos
Reply

1,231 Views
jeremyzhou
NXP Employee
NXP Employee

Hi Federico Guerra,

Thanks for your reply.

Please giving it a try, the LPC824 can support to change the clock setup during working

TIC
 
-----------------------------------------------------------------------------------------------------------------------
Note: If this post answers your question, please click the Correct Answer button. Thank you!
-----------------------------------------------------------------------------------------------------------------------
0 Kudos
Reply