Hi,
I know what you said, but I don't define variables in this simulink. I use its own encapsulation model.How to solve this problem?And ,is it because of the problem of setting up?

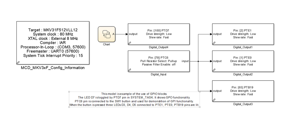
Yes, the development board is that , FRDM-KV31F: Freedom Development Platform for Kinetis KV3x KV3x Family MCUs.

Regards,
Chen