Hi,
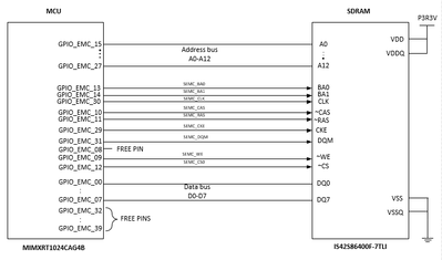
In evaluation board of i.MXRT1024, a 16-bit SDRAM (IS42S16160J-6TLI )is interfaced to controller. In that, Address lines are configured from A0 to A13.
We are using MIMXRT1024CAG4B and planning to interface a 8-bit SDRAM (IS42S86400F-7TLI) in our design. Can I configure the address pins of 8-bit SDRAM from A0 or is there any specific constraints in configuring these address pins?
