PCA9698 the problem with the two expanders

キャンセル
次の結果を表示 
表示  限定  | 次の代わりに検索 
もしかして: 

PCA9698 the problem with the two expanders

1,133件の閲覧回数
Sergio0703
Contributor II

In my case, there are two expanders on the line that should simultaneously update the status of pins according to a STOP state. The documentation states that access to each circuit must be accompanied by the RESTART signal, and there must be a final STOP signal. However, in my case only the second expander is updating the pin status, while the first one is ignoring it. It seems that the first expander does not see the STOP signal.

タグ(4)
0 件の賞賛
返信
7 返答(返信)

869件の閲覧回数
Sergio0703
Contributor II

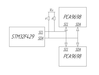
1000009019.jpg

 Schematic 

0 件の賞賛
返信

871件の閲覧回数
Sergio0703
Contributor II

From what was not present in the last waveform, I send the MODE setting for the register with OCH set to 0.

1000009018.jpg

PCA9698 Addr 0x4E

1000009020.jpg

PCA9698 Addr 0x4A

0 件の賞賛
返信

1,077件の閲覧回数
guoweisun
NXP TechSupport
NXP TechSupport

HI Sergio0703

1: Please share with your schematic.

2: please also catch some waveforms for your test issue and show the IIC signals.

0 件の賞賛
返信

1,067件の閲覧回数
Sergio0703
Contributor II

1000008422.png

1000008424.jpg

0 件の賞賛
返信

1,040件の閲覧回数
guoweisun
NXP TechSupport
NXP TechSupport

Please follow below steps:

Example 2: More than one PCA9698 is used on the I2C-bus and all the outputs need to

change at the same time.

  • OCH bit (Mode Selection Register, bit 1) must be equal to ‘0’ in all the devices.
  • The master device must access the devices one-by-one.
  • Access to each device must be separated by a Re-START command
  • When all the devices have been accessed, the master must generate a STOP

command.

  • At the STOP command, all the PCA9698s that have been accessed will update their

Output Port registers that have been programmed and change the output states all at

the same time.

0 件の賞賛
返信

1,037件の閲覧回数
Sergio0703
Contributor II

Everything was done according to the documentation, which is what the waveform shows. However, the first expander (before RESTART) does not see the STOP sent after the message to the second expander. I haven't found any contradictions in the I2C specification, so I don't understand the reason.

0 件の賞賛
返信

1,002件の閲覧回数
guoweisun
NXP TechSupport
NXP TechSupport

1:For your test procedure please list clear steps by steps below and catch the waveforms:

  • OCH bit (Mode Selection Register, bit 1) must be equal to ‘0’ in all the devices.
  • The master device must access the devices one-by-one.
  • Access to each device must be separated by a Re-START command
  • When all the devices have been accessed, the master must generate a STOP

command.

2: You can give the more detail schematic.

Thanks!

0 件の賞賛
返信